(067) 579-06-42
(067) 545-54-56
(067) 531-53-11
(067) 579-02-60
tdtermofit@gmail.com
м. Харків, вул. Дніпровська 30

З гвинтовим механізмом


З гвинтовим механізмом

ІНСТРУМЕНТИ ДЛЯ МОНТАЖУ СІП

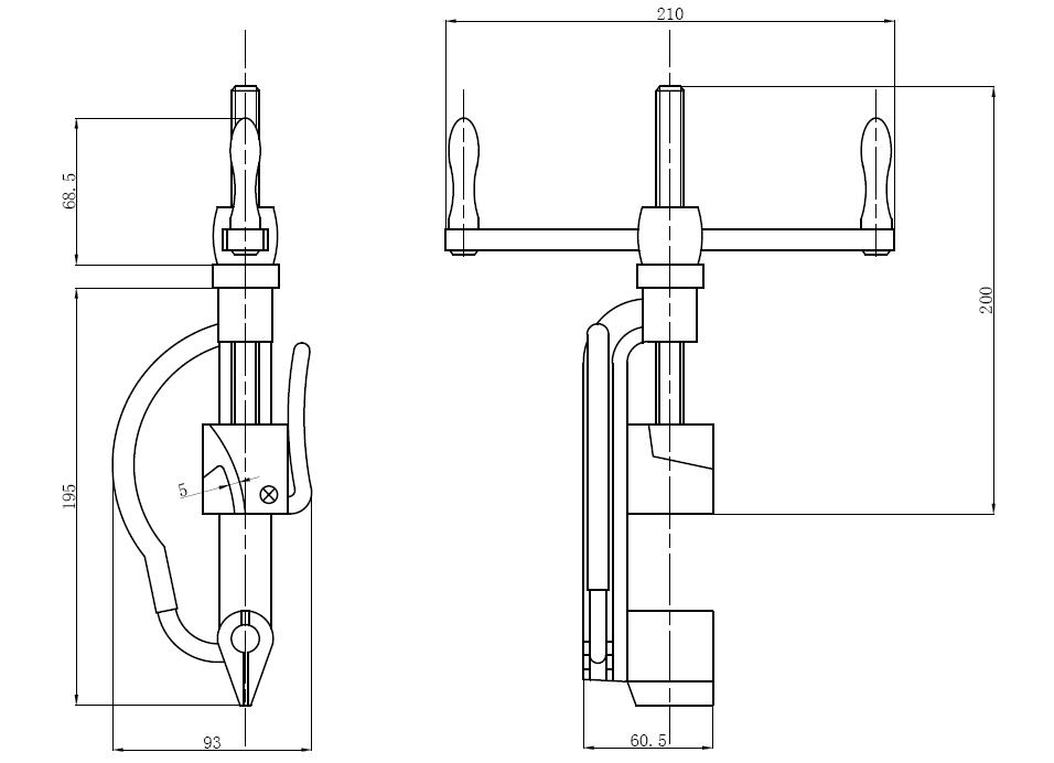
Інструмент для натягування  бандажної стрічки з гвинтовим механізмом 


Призначення: Ключ застосовується для монтажу стальної бандажної стрічки . Використовується на опорах (металевих, залізобетонних), застосовується для пакування товару. Простий у роботі, не потребує додаткового навчання. Максимальні параметри стрічки до 20мм, товщина 1мм.

Метод монтажу
-
Для монтажу будь-якої лінійної арматури, кронштейна вам знадобиться окрім інструменту, сталева бандажна стрічка, бугель або скріпка молоток (пасатіж), робочі рукавички. Підготуйте необхідний метраж бандажної стрічки відповідно до фактичного використання, скористайтесь різцем у ключі.

Заведіть стрічку у скріпу на довжину близько 5см

 

Загніть кінець у бік основної ділянки стрічки. За допомогою молотка (пасатіж) максимально притисніть її впритул до зворотного боку скріпи. 

Інший кінець стрічки протягніть через скріпу, залишивши 10см для захоплення її інструментом.


Вільний кінець стрічки пропустіть через корпус ключа і закріпіть затискним механізмом. Рукояткою повільно зробіть стяжку максимально закрутивши гвинтовий механізм, забезпечивши щільне прилягання лапок.


Після досягнення необхідного натягу ключ загніть до скпера і перекусіть стрічку за допомогою різця.

Хвіст стрічки затисніть вусиками скріпи

Комплектація: Коробка, паспорт, інструмент